In caso di curvatura globale di un montante, la normativa UNI EN 15635 individua specifiche regole da applicare.
La misurazione del danno deve essere effettuata come segue:
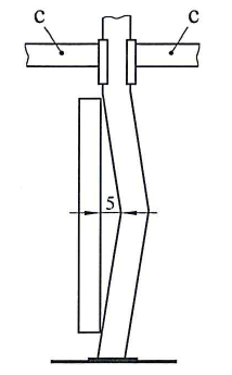
- Porre riga d’acciaio, dritta e lunga 1 m, a contatto con il montante danneggiato sul lato concavo, in modo che la zona danneggiata sia centrale e il più possibile vicina alla lunghezza di bordo dritto. Questa misurazione è da effettuare in senso trasversale, ossia nel senso di profondità dello scaffale.
- Per un montante piegato nella direzione delle campate dei correnti della scaffalatura, la tolleranza massina di distanza tra il montante ed il bordo dritto è di 5 mm. Questa misurazione è da effettuare in senso longitudinale, ossia nel senso di percorrenza del corridoio.
- Per un montante piegato nel piano della controventatura della spalla, la tolleranza massima di distanza tra il montante ed il bordo dritto è di 3 mm.
- Per un montante che è stato danneggiato in modo che non ci sia una curvatura simultanea sia in senso longitudinale che laterale, la deformazione deve essere misurata e trattata separatamente e si devono rispettare entrambi i limiti di 5 e 3 mm.
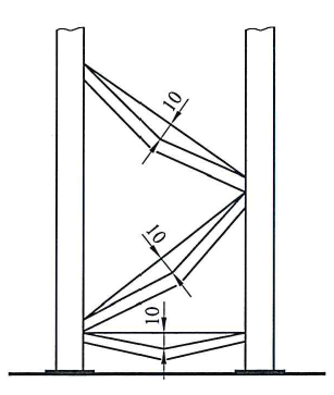
- Per gli elementi di controventatura piegati in un piano o nell’altro, la distanza tra riga d’acciaio ed elemento di controventatura non deve eccedere i 10 mm su un tratto utile di 1 m o una misura ad essa proporzionale per controventature più corte di 1 m.
Una volta effettuata la misurazione, in base all’entità del danno, la normativa indica come procedere, individuando tre livelli di rischio e classificandoli come:
LIVELLO VERDE – RICHIEDE SOLO SORVEGLIANZA (sez. 9.5.2)
Questa categoria comprende i casi che non superano i limiti di 3 e 5 mm.
“Il livello verde indica il limite che non richiede una riduzione della capacità portante dello scaffale come specificato sul cartello di carico o la riparazione immediata del sistema. Indica componenti della scaffalatura considerati sicuri e in buone condizioni d’impiego. Tali componenti devono essere registrati come adeguati all’esercizio fino alla successiva ispezione da parte della direzione, ma devono essere chiaramente identificati per un riesame specifico ed una nuova valutazione nel corso di ispezioni future.”
Il superamento del livello verde causa un rischio per il sistema di scaffalature.
RISCHIO GIALLO – DANNO POTENZIALE CHE RICHIEDE UN INTERVENTO IL PRIMA POSSIBILE (sez. 9.5.3)
Questa categoria comprende i casi che superano i limiti di 3 e 5 mm fino ad un fattore di due (entro e non oltre) e deve comportare la sostituzione del componente danneggiato.
“Identifica un’area in cui il danno è sufficientemente grave da esigere azioni correttive, ma non così grave da esigere lo svuotamento immediato dello scaffale. Una volta che il carico è stato rimosso dal componente danneggiato, il componente non deve essere caricato di nuovo finché non siano state effettuate le riparazioni.”
RISCHIO ROSSO – DANNO MOLTO GRAVE CHE RICHIEDE UN INTERVENTO IMMEDIATO (sez. 9.5.4)
Questa categoria comprende i casi che superano i limiti di 3 e 5 mm fino ad un fattore pari o maggiore di due.
“Si tratta di situazioni nelle quali è stato identificato un livello di danno critico, che esige che un’area delle scaffalature sia immediatamente liberata dal carico e resa inaccessibile a qualsiasi utilizzo finchè non sia stata apportata la riparazione. Tale riparazione dovrebbe generalmente consistere nella sostituzione del componente danneggiato.”
Le aziende degli utilizzatori devono avere un metodo di messa in sicurezza di tali aree, per assicurarsi che non siano riutilizzate prima dell’esecuzione delle riparazioni.
NOTA: per esempio, una campata particolare potrebbe essere liberata immediatamente dal carico in presenza dell’ispettore e isolata mediante corde che ne impediscano l’ulteriore utilizzo.
ATTENZIONE!
Queste specifiche non devono essere applicate nel corso del controllo settimanale previsto dalla normativa da parte del PRSES, ma da parte di tecnici con comprovata esperienza e strumentazione certificata, nel corso del controllo annuale.





